Выключатель-разъединитель ВНК-39-31131-54 УХЛ3
Описание товара
Выключатели-разъединители серии ВНК предназначены для включения, пропускания и отключения переменного тока в устройствах распределения электрической энергии, могут быть использованы в качестве главных и аварийных выключателей.
Основными узлами аппарата являются подвижные и неподвижные контакты и механизм мгновенного действия.
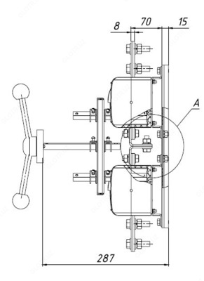
Корпус аппарата состоит из верхнего и нижнего блоков, стянутых винтами. В верхней части корпуса имеется прозрачная защитная крышка, позволяющая наблюдать за положением контактов.
В нижнем блоке корпуса установлены неподвижные ножевые контакты, компактные дугогасительные камеры и ползун с установленными в него подвижными контактами.
Включение и отключение аппарата производится с помощью фронтальной рукоятки посредством механизма мгновенного действия, перемещающего ползун с подвижными контактами параллельно плоскости монтажа аппарата.
Скорость срабатывания механизма не зависит от скорости движения руки оператора, тем самым обеспечивается мгновенное и одновременное замыканиеконтактов всех полюсов.
Внимание: характеристики товара, комплект поставки и внешний вид могут быть изменены производителем без предварительного уведомления. Указанная информация не является публичной офертой.
Показать все
Скрыть
Отзывы
У данного товара пока нет отзывов. Станьте первым, кто поделится своим мнением и поможет другим сделать выбор
Спасибо за ваш отзыв!
Менеджер свяжется с вами в течение 30 минут для уточнения деталей, стоимости и условий доставки
Зарегистрированные пользователи могут отслеживать статус заказа в личном кабинете
С этим товаром смотрят
Выключатель-разъединитель ВР32И-37А30220 400А IEK
10 сум
Дополнительное оборудование к ВР32 Дугогасительные камеры для ВР32-39 (для перекидного)
10 сум
Дополнительное оборудование к ВР32 Дугогасительные камеры для ВР32-35в
10 сум
СВН-2-02 Счетчики времени наработки
10 сум
Диэлектрический коврик 700х700
125 000 сум
Выключатель-разъединитель ВР32-39А31240-00 УХЛ3 лев.
10 сум
Syscompact 3000 — компактная мобильная система для отыскания мест повреждений кабельных линий (32 кВ)
10 сум
Fluke FiberInspector Micro — эндоскоп для проверки торцевых поверхностей оптоволоконных кабелей на отсутствие загрязнений или повреждений
10 сум
Дополнительное оборудование к ВР32 Крышка ГЛИЦ 735131.036вр630А
10 сум
Комплектующие к ВР32 Рукоятка к ВР 32- 31/35/37 31240
10 сум
Выключатель-разъединитель ВР32-35-В-31250-54 УХЛ2
10 сум
Выключатель-разъединитель ВР32-35-А-31240-00 УХЛ3
10 сум
Ранее вы смотрели
Выключатель-разъединитель ВНК-39-31131-54 УХЛ3
Trotec SL800T — ультразвуковой излучатель
ППИ-1 — индикатор пенопленочный (канистра 5 литров)
Разъединитель линейный РЛК-2-10 IV/630 УХЛ1 с КМЧ
ARCS-40M — присоединительное устройство для импульсно-дугового метода
AQ1100A-HR-F-HPM-UFC/SB — тестер оптический
6ES7221-1BH22-0XA0 КОНТРОЛЛЕРЫ SIEMENS S7-200
У5023М — установка для поверки частотомеров
ПрофКиП Г6-46/3М — генератор сигналов специальной формы
XDG2100 — универсальный 2-х канальный генератор
Похожие категории