Выключатель-разъединитель ВНК-39-31130N-32 УХЛ3
Описание товара
Выключатели-разъединители серии ВНК предназначены для включения, пропускания и отключения переменного тока в устройствах распределения электрической энергии, могут быть использованы в качестве главных и аварийных выключателей.
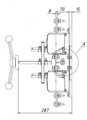
Основными узлами аппарата являются подвижные и неподвижные контакты и механизм мгновенного действия.
Корпус аппарата состоит из верхнего и нижнего блоков, стянутых винтами. В верхней части корпуса имеется прозрачная защитная крышка, позволяющая наблюдать за положением контактов.
В нижнем блоке корпуса установлены неподвижные ножевые контакты, компактные дугогасительные камеры и ползун с установленными в него подвижными контактами.
Включение и отключение аппарата производится с помощью фронтальной рукоятки посредством механизма мгновенного действия, перемещающего ползун с подвижными контактами параллельно плоскости монтажа аппарата.
Скорость срабатывания механизма не зависит от скорости движения руки оператора, тем самым обеспечивается мгновенное и одновременное замыканиеконтактов всех полюсов.
Внимание: характеристики товара, комплект поставки и внешний вид могут быть изменены производителем без предварительного уведомления. Указанная информация не является публичной офертой
Показать все
Скрыть
Отзывы
У данного товара пока нет отзывов. Станьте первым, кто поделится своим мнением и поможет другим сделать выбор
Спасибо за ваш отзыв!
Менеджер свяжется с вами в течение 30 минут для уточнения деталей, стоимости и условий доставки
Зарегистрированные пользователи могут отслеживать статус заказа в личном кабинете
С этим товаром смотрят
C.A 6609 — измеритель фазовой ротации и направления вращения двигателя
10 сум
Выключатель-разъединитель ВР32-39-А-31240-00УХЛ3
10 сум
Выключатель-разъединитель ВР32И-39A70220 630А IEK
10 сум
Выключатель-разъединитель ВР32-35А71220-00 УХЛ3
10 сум
Выключатель-разъединитель ВР32-39А31240 УХЛ3
10 сум
Дополнительное оборудование к ВР32 Дугогасительные камеры для ВР32-31в
10 сум
Выключатель-разъединитель ВР32-35-В-31250-32 УХЛ3 лев.
10 сум
Выключатель-разъединитель ВНК-43-31130-32 УХЛ3 лев.
10 сум
Выключатель-разъединитель ВР32И-39В31250 630А IEK
10 сум
ВЫКЛ-РАЗЪЕД INTERPACT INS320 3П Schneider Electric
10 сум
Дополнительное оборудование к ВР32 Дугогасительные камеры для ВР32-35 (для перекидного)
10 сум
Комплектующие к ВР32 Рукоятка к ВР 32- 31/35/37 71250
10 сум
Ранее вы смотрели
CALIBRO 133C — калибратор мощности и энергии
Выключатель-разъединитель ВНК-39-31130N-32 УХЛ3
DT-8867H — профессиональный инфракрасный термометр
MI 3201 — многофункциональный измеритель параметров изоляции
MET-2 — измеритель сопротивления заземления
TM-6002 — измеритель внутреннего сопротивления источников питания
ЭД-10ИТО-Р — динамометр измерения усилий в оттяжках
TE7085 — модуль распределения температуры (термопары и термометры сопротивления)
TE1041 — низкоомный магазин сопротивления
IR1650U — дистанционный измеритель температуры (пирометр)
Похожие категории